
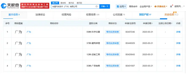
快科技6月20日消息,广汽华为合作公司——华望汽车技术(广州)有限公司于2025年5月申请注册了多枚“广为”“启境”“至境”“元方”等商标。


华望汽车成立于2025年3月,由广汽集团全资持股,其法定代表人为閤先庆,注册资本高达15亿人民币。

据相关报道,华望汽车是广汽集团与华为合作的产物。
华望汽车计划打造独立的高端汽车新品牌,其车型将配备华为智能驾驶软件、智能座舱、智能车控等解决方案。
近期,该公司开启了大规模招聘,涵盖研发、技术、产品等多个方向,岗位数量超过100个。
【本文结束】如需转载请务必注明出处:快科技
责任编辑:王略
文章内容举报 ]article_adlist--> 声明:新浪网独家稿件,未经授权禁止转载。 -->配资网站查询,配资论坛登录入口官网,厦门股票配资一览表提示:文章来自网络,不代表本站观点。